AI新闻资讯 2026-03-03 09:47:44
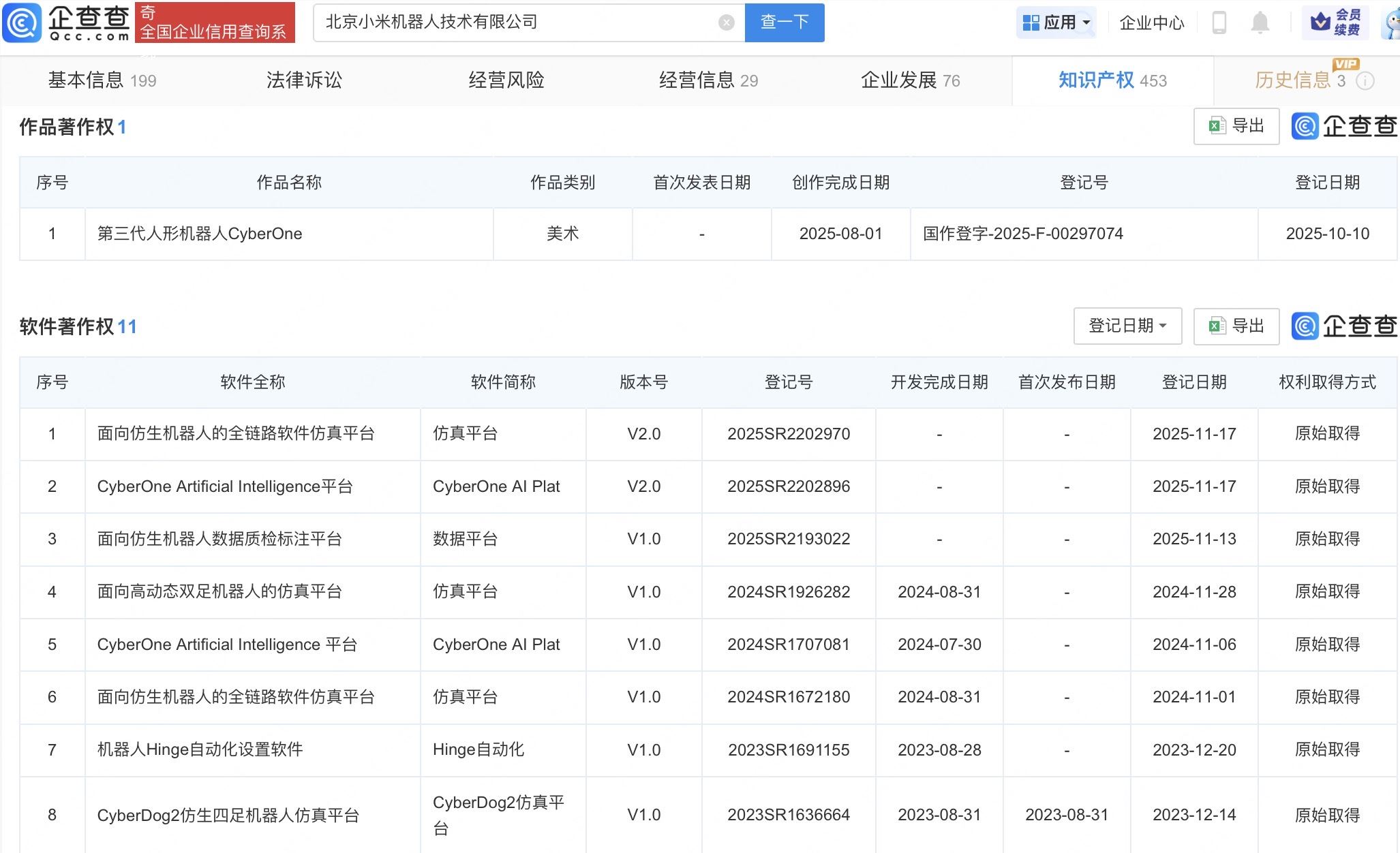
据报道,近日,小米公布了人形机器人在汽车工厂自主作业的视频,其已经能够连续工作3个小时。企查查APP显示,去年10月,北京小米机器人技术有限公司登记“第三代人形机器人CyberOne”作品著作权,作品类别为美术。
此外,该公司还拥有“面向仿生机器人的全链路软件仿真平台”“面向仿生机器人数据质检标注平台”“CyberDog2仿生四足机器人仿真平台”软件著作权。
智己汽车发布会定档!超级智能体即将亮相,揭示未来出行新趋势
NAS 玩家狂喜!绿联联手 MiniMax 搞大事:大模型一键“入柜”,私有云秒变超强 AI 助手
百度搜索 Skill 登顶 ClawHub:下载量突破 3.6 万次,位居全球第一
美团王兴:物理世界数字化是AI底座,已上线AI搜索产品“问小团”
技术优化仍需打磨:Meta 宣布 Llama4发布计划推迟至5月
美团 CEO 王兴:AI Agent 对我的冲击比 ChatGPT 冲击更大
出货量破 800 万颗!董明珠的“芯”事成了:格力自研芯片杀入AI“主动服务”时代
入门即享半固态电池!上汽 MG 4X 惊艳亮相:发光 LOGO 加持,智驾博弈大模型也来了